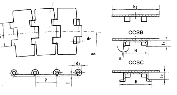
STEEL SIDFLEX TOP CHAIN

CSSA:

Sideflex chain without t

CCSB:

Sideflex chain bevelled guide shoe

CCSC:

Sideflex chin with hold down tab

 

 

Chain no

Pitch P

mm

slat width

b2

mm

Width over fixed curls

b1

mm

Pin dia

d:

mm

Slat thickness

T

mm

Gearing curls dia

d1(max)

mm

Sideflex radius

R(min)

mm

Float-prevention tab details Breaking load Max working load

Weight per meter

q

kg/m

h

mm

L1

mm

L2

mm

a

IC-18Ni9t

(min)

kni

ICr13

2Cr13

(min)

kn

ICr18N9iTi

(max)

KN

ICr13

2Cr13

(max)

kn

CC13SA 38.1 82.6 42               6.5" 7.20 5.60 2.6 2 2.25
CC13SB 43 11     2.85
CC13SC 38.5 56   16.2   3.08
CC14SA 38.1 88.9 42       460         2.67
CC14SB 43 11   6.5 3.0
CC14SC 38.5 56   16.2   3.23
CC16SA 38.1 101.6 42 6.35 3.1 13.8           2.93
CC16SB 43 11   6.5" 3.26
CC16SC 38.5 56   16.2   3.49
CC18SA 38.1 114.3 42                 3.15
CC18SB 43 11   6.5" 3.78
CC18SC 38.5 56   16.2   3.60
CC24SA 38.1 152.4 42       600         3.96
CC24SB 43 11   6.5" 4.31
CC24SC 38.5 56   16.2   4.54
CC30SA 38.1 190.5 42                 4.70
CC30SB 43 11   6.5" 5.06
CC30SC 38.5 56   16.2   5.29

<<BACK

wiperdrive© copyright. 2002